PRODUCTS SUMMARYHOME > PRODUCTS
> PRODUCTS SUMMARY
| Various kinds of valve are optional | ||||||||||||||||||||||||||||||||||||||||||
Main Products
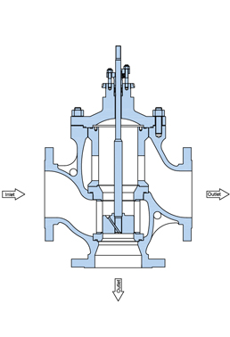
Globe Valves The
globe valve is the most common and reliable product used in process control
with many types and structures which is applicable in different working
conditions, including normal temperature and pressure to all kinds of severe
service. You can always find what you need for process control in SCORE.
Various kinds of valve are optional
| ||||||||||||||||||||||||||||||||||||||||||
下一页:Various kinds of packing are optional | ||||||||||||||||||||||||||||||||||||||||||
![]() |

















